随机振动测试台 EV-206 振动试验台就是激励或冲击某部件或装置,看它在真实环境中会是如何反应。振动试验台的应用范围极为广泛,从电路板、飞机,舰船、火箭、导弹、汽车和家用电器等工业产品。
产品编号:
上架时间: 2019/12/26
在线咨询一、产品应用
振动试验台就是激励或冲击某部件或装置,看它在真实环境中会是如何反应。振动试验台的应用范围极为广泛,从电路板、飞机,舰船、火箭、导弹、汽车和家用电器等工业产品。
铭宇公司能为您提供整个激振和测试方案,并根据国家和国际标准,如GB、GJB、UL、JIS、DIN、ISO、BS、MIL、IEC和ASTM等,为您证明产品的品质。
二、振动机选型公式及振动发生器结构图
① 贵司提供的试验条件;
② 试验类型:Sine sweep;Random;
③ 频响范围:2-4000Hz
④公式:A(g)=(2πf)2Dcm/980≒A=0.002DmmF2 D=A/0.002F2
F=M(kg) ×A(g)
可满足:(一)10/50/10Hz, 1.5mm X,Y,Z 60min (Total 180min)
可满足:(二)10~55Hz, 1.5mm 10Hz~55Hz~10Hz, 2h for x,y,z(total 6h)
可满足:(三)10/500/10Hz, 1.5G, Sine X,Y,Z Sweep(30min)

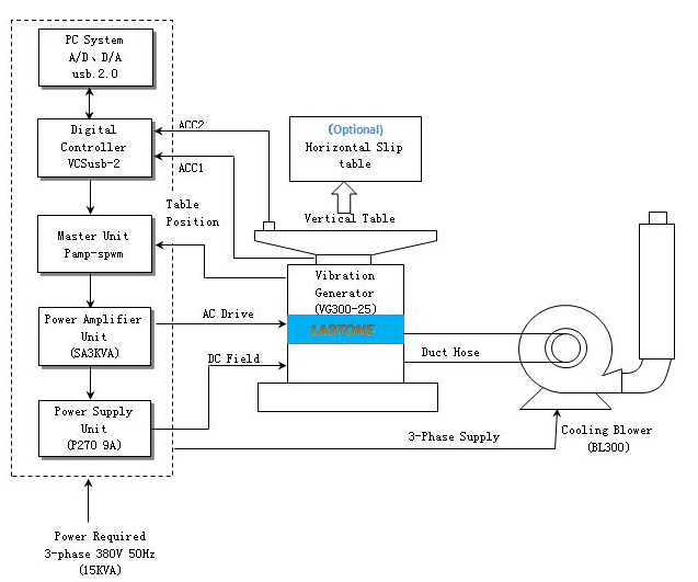
三、系统原理方框图

四、振动试验台安装示意图

五、设备配置说明
项目 | 配 置 说 明 | 数量 |
1. | 振动台体 | |
VG300-25电磁式激振发生器 | 1台 | |
BL-300冷却风机(含消音器) | 1台 | |
2. | 数字开关功率放大器 | |
SA-3数字开关功率放大器 | 1台 | |
伺服保护系统 | 1套 | |
励磁电源 | 1套 | |
3. | 数字振动控制器 | |
数字振动控制器主机 | 1台 | |
系统加速度传感器 | 1PCS | |
控制电脑 | 1套 | |
控制软件安装光盘 | 1套 | |
4. | 随机附件 | |
延长电缆线、风管 | 1套 | |
操作说明、检验报告、合格证、保养手册等 | 1套 | |
附属专用工具 | 1套 | |
振动压杆/压条夹具 | 1套 | |
减震气囊 | 4pcs |
五、技术参数
VG300-25电磁式激振发生器参数 | |||||
最大正弦激振力 | 1000Kg.f peak | ||||
最大随机激振力 | 600Kg.f r.ms | ||||
最大冲击激振力 | 600Kg.f peak | ||||
频率范围 | DC~4000 Hz | ||||
最大位移 | 50 mm p-p | ||||
最大速度 | 1.8m/s | ||||
工作台面尺寸 | 600mm×600mm | ||||
最大加速度 | 100G(980 m/s2) | ||||
最大负载与加速度关系:F=M.A | |||||
5G(49m/s2) | 10G(98m/s2) | 20G(196m/s2) | 30G(294m/s2) | ||
57kg | 27kg | 12kg | 7kg | ||
最大负载 | 200 kg | ||||
隔振频率 | 2.5 Hz | ||||
动圈直径 | Ф150 mm | ||||
动圈质量 | 3kg | ||||
台面螺钉 | 13×M8 | ||||
漏 磁 | <10gauss | ||||
设备尺寸 | 750mm×560mm×670mm(垂直台) | ||||
设备重量 | 约460Kg | ||||
SA-3K 数字开关功率放大器 | |||||
输出功率 | 4KVA | ||||
输出电压: | 100V | ||||
输出电流: | 30A | ||||
功放尺寸 | 720mm×545mm×1270mm | ||||
重 量 | 230KG | ||||
伺服保护系统 | |||||
功能: | 温度、风压、过位移、过电压、过电流、输入欠压、外部故障、控制电源、逻辑故障、输入缺相等 | ||||
数字振动控制器 VCSusb-2 | |||||
硬件配置: | 2 通道输入,1个输出通道 正弦、随机、 | ||||
控制电脑 | 原装联想电脑、液晶显示器(含键盘/光电鼠标) | ||||
软件 | 中/英文操作,可进行时域和频域分析,信号源、正弦扫频分析等。可自动生成WORD试验报告,信号与数据的显示、存储、设置测试参数和分析功能。 | ||||
操作系统 | Windows 2000/ XP | ||||
加速度传感器B&W | 频率范围:1—12000Hz 灵敏度:50mv/g 温度范围:-24 - 250℃ | ||||
BL-300冷却风机(含消音箱) | |||||
风机功率: | 1.1 KW | ||||
流量 | 1404m3 /h | ||||
电气要求: | |||||
电 源 | 3相380V/50Hz, 15 KVA | ||||
接地电阻 | ≤4Ω | ||||
六、设备性能:
6.1、振动台体VG300-25
6.1.1、动圈
振动台配备铸造和手动加工的动圈,光电气动负载支持系统和双轴承轴向导向。双轴承导向是一个独特的功能,在振动试验过程中,有助于减少轴向的动态交叉和转动,具有优越的耐用性。
6.1.2、励磁线圈
采用双磁路结构、漏磁低,磁场均匀
6.1.3、台体表面
采用先进的磷化处理及汽车烤漆技术,具有长期防磨防锈作用。
6.1.4、台体制冷:
采用低噪音风机、改进台体进风结构,励磁线圈采用蜂窝式风道、中磁环采用双层分流式风道等,采用了新型的风道设计,增强冷却效果。
6.2、SA数字开关功率放大器
SA系列数字开关功率放大器采用性能可靠的MOSFET或IGBT技术,
a.具有高稳定性及可靠性
b.符合欧盟“CE”标准要求
c.采用正弦倍频脉宽调制技术,功率放大器信噪比高。
d.采用开关电源的工作原理,转换效率高。
e.采用电子自动均流技术
f.安全性能好。
6.3、伺服保护系统
保护功能齐全,具有电网过压、欠压、缺相、逻辑故障、功率模块直通、过温、输出过电流、输出过电压、驱动电源、台体过位移、台体温度、外部连锁等
6.4.数字振动控制器介绍
振动控制器采用先进的分布式结构体系,闭环控制由DSP 处理器实现,PC 机独立于控制环之外,保证了控制系统的实时与高效,能及时、快速地响应试验系统的任何变化,确保控制的稳定性和高精度。硬件采用主频高达300MHz 的32 位浮点DSP 处理器、24 位分辨率的ADC/DAC,配合高精度浮点数字滤波和硬件电路的低噪声设计技术,控制器随机控制动态范围大于90dB,信噪比大于100dB。
6.4.1、振动控制器特点:
a、高性能与可靠性
闭环控制由DSP 处理器实现,PC 机独立于控制环之外,保证了控制系统的实时与高效,能及时、快速地响应试验系统的任何变化,确保控制的可靠性和高精度。所有输入通道都有24 位分辨率的ADC、低噪声硬件设计、以及内置模拟和数字抗混叠滤波器,有效地保证了分析的高精度。
b、操作简捷
基于Windows 的应用软件操作方便、辅助功能丰富。系统功能强大的自动向导和测试报告自动生成功能使重复又枯燥的测试任务变得简单。测试参数设置丰富严谨,同时USB2.0 接口使它与计算机的连接更加紧密和谐。
c、强大的功能与灵活性
振动控制器一个功能强大的振动控制平台,可以完成多项复杂任务。在同一硬件平台上,配置不同的应用软件,能完成多种分析任务,以满足您的不同测试分析需要。控制器采用模块化设计,能根据不同的用户需要配置相应的硬件和软件,满足用户的不同需求。d.试验安全性
控制器可提供小量级信号控制,以获得系统振动控制的预览;该方法可帮助测试工程师预先确定噪声等级,并粗略地了解系统的传递函数等特性。还有多项安全性检查与互锁设置,最大程度保证了测试人员、测试物体以及振动台设备的安全性。若系统出现异常,可立即按下系统内置的终止键结束测试
e.测试报告生成
支持一键快速生成word 格式或PDF 格式测试报告功能,您只需点击报告生成按钮就可以得到当前的试验结果。从基本的试验控制功能描述到具体的试验设置参数,从控制目标谱曲线到试验时域和频域曲线,一应俱全。方便您按不同的测试报告规范进行修改制作,可直接打印和打印预览,并可执行在线发送。
6.4.2数字振动控制器功能说明:
随机控制(Random)
根据用户自定义的功率谱图(由目标谱编辑器制定),随机控制采用传递函数均衡方法,连续输出高斯随机信号,快速执行实时精确的多通道闭环控制,内置的自适应控制算法可对系统的非线性、共振频率以及载荷变化做出迅速反应。
频率范围:0~4800Hz,可扩展到18750Hz
分辨率: 100,200,400,800,1600,3200谱线
控制功态范围:>90dB
控制策略:单通道控制、加权平均、最大值、最小值

正弦控制(Sine) Sine提供模拟质量的正弦和正弦扫频信号,并对正弦波形幅值进行控制。可设置驻留量级、驻留频率,并通过设置时间或正弦信号周期数来确定驻留持续时间。
频率范围:1Hz~5000Hz,可扩展至10000Hz
闭环时间:5ms
谐波失真度:<-100db< span="">
扫频模式:线性扫频0~6000 Hz/min
对数扫频0~100 Oct/min
扫频方向:向上、向下扫频
扫频持续时间:可设定为扫频次数、时间
附件、主要零部件说明:
<td width="206" valign="top" style="padding: 0px 7px; border-left: none; border-right-width: 1px; border-right-color: windowtext; border-top: none; border-bottom-width:
<td width="138" valign="top" style="padding: 0px 7px; border-left: none; border-right-width: 1px; border-right-color: windowtext; border-top: none; border-bottom-width: 1px; border-bottom-co
部件名称 | 制造商 | 故障更换时效说明 | |
激 振 发 生 器
| 动圈 | 深圳 | 无库存情况,如需重新制作7天 |
励磁线圈 | 深圳 | 无库存情况,如需重新制作5天 | |
中心气囊 | 深圳 | 1天,长期库存 | |
动圈导向系统 | MC/日本 | 1天,长期库存 | |
台体 | 深圳 | ||
功 率 放 大 器 | 功率模块 | MITSUBISHI /日本 | 长期库存 |
磁场电源模块 | 台湾明纬 | 长期库存 | |
电容 | 日立/日本 | 长期库存 | |
逻辑模组 | 深圳 | 长期库存 | |
保险丝 | 茗熔电器 | 长期库存 | |
断路保护器 | MITSUBISHI /日本 | ||
数字 振动 控制 器 | DSP中央处理器 | 美国TI | 长期库存 |
上一篇:机械式冲击试验台 下一篇:模拟汽车运输振动试验台 | |||